- 
        			
        			

体检报告出现这几个字,距离癌症可能只有“一步之遥”!
日常生活中,很多人非常重视体检,却看不懂体检后的“体检报告”。当体检报告出现这几个“警示性字眼”时,...
欧意全球站 2025-11-03 1
 - 
        			
        			

湖南一男子被蛇咬拒绝治疗后失联遭质疑炒作,当地最新回应:人体检过“身体没问题”,警方尚在调查中
日前,湖南邵阳洞口县一59岁男子尹某被曝遭银环蛇咬伤,拒绝接受治疗后失联,引发网友关注。尹某再度现身...
欧意全球站 2025-10-31 6
 - 
        			
        			

A股大牛市:一份全面的体检报告
核心结论:基于我们梳理总结的A股大牛市十大核心跟踪关注指标进行综合评估,截至目前本轮牛市大盘指数并未...
欧意网APP 2025-09-29 12
 - 
        			
        			

罗马诺爆料:格伊体检已完成,水晶宫主席与格拉斯纳将做出关键决定
在英超转会窗口即将关闭之际,水晶宫的转会动态引发了球迷们的广泛关注。根据著名记者罗马诺的最新消息,布...
欧意交易所 2025-09-02 18
 - 
        			
        			

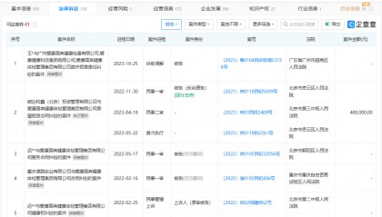
爱康国宾体检被质疑漏检癌症 该公司多地分支机构吊注销
信网7月17日讯据报道,家住北京的张女士向媒体投诉,称她在爱康国宾健康体检管理集团有限公司(下称“爱...
欧意全球站 2025-07-18 38
 - 
        			
        			

女律师十年体检未查出癌症,爱康国宾发布情况说明
7月17日晚,针对日前一些媒体刊载一篇题为《女律师十年体检未有“患癌风险”预警,确诊已是肾癌晚期》的...
欧意网APP 2025-07-18 37
 - 
        			
        			

女律师在爱康国宾体检10年未提示癌症,在国外确诊,爱康国宾回应:公司正在讨论处理
“2013年到2023年,我在‘爱康国宾’体检了10年,从来没有被检查出患癌风险,结果我2024年被...
欧意全球站 2025-07-17 37
 
